MRO WORLD WIDEMROWorldWide.com is an online platform specializing in the global sourcing and distribution of maintenance, repair, and operations (MRO) products. We provide industrial supplies, tools, and equipment to various sectors, including Oil & Gas, Aviation, Marine, EPC Construction, and Facility management. MROWorldWide.com aims to simplify the procurement process for businesses by offering a user-friendly interface, a vast selection of high-quality products, and efficient global shipping solutions. The platform's "Global Sourcing Simplified" tagline reflects its commitment to making it easier for companies to find and acquire the essential supplies they need to keep their operations running smoothly.https://www.mroworldwide.com/s/63997ccc51136300199617b0/655e0bdb46d025fc1f2e739b/screenshot-2023-07-29-094638-480x480.png
77 Sugar Creek Center Blvd Suite 600 Sugar Land, TX 7747877478HOUSTONUS
MRO WORLD WIDE
77 Sugar Creek Center Blvd Suite 600 Sugar Land, TX 77478HOUSTON, US
+17135650998https://www.mroworldwide.com/s/63997ccc51136300199617b0/655e0bdb46d025fc1f2e739b/screenshot-2023-07-29-094638-480x480.png"[email protected]
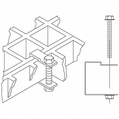
667af82f32b4493e1653eccfPK 25PK 25Fiberglass Grating Clip Material 316 Stainless Steel Compatible Support Thickness Not Applicable Product Type Clip Assembly Clip Assembly Code F-2 Package Quantity 25MRO804AY4
QAR3755In Stock
FIBERGRATE

Shop

PK 25

Fiberglass Grating Clip Material 316 Stainless Steel Compatible Support Thickness Not Applicable Product Type Clip Assembly Clip Assembly Code F-2 Package Quantity 25
SKU : MRO804AY4
Brand : FIBERGRATE
MFG part no : 876160
Country of orgin : United States
Shipped from : USA
QAR 3,755

Product Information

#AttributeValue
1.brandFIBERGRATE

Related Products

Recently Viewed

Customer Review

Be the first to review this product
0/5
Rate this product!